Αποστολέας Θέμα: Προτζεκτάκι ...  (Αναγνώστηκε 15592 φορές)

ΖΑΡΚΑΔΑΣ ΚΩΣΤΑΣ

  • Hero Member
  • *****
  • Μηνύματα: 6.139
Απ: Προτζεκτάκι ...
« Απάντηση #15 στις: Αυγούστου 30, 2017, 03:48:15 μμ »
στην επομενη εκθεση θα σκασω μυτη με γοβα ψηλοτακουνη

...η διοργανωση θα βγαλει και λαχνο...  {celebrate015}
ο νικητης θα περασει ενα βραδυ με ζαρκαδα, και οτι ηθελε προκυψει...  {celebrate015} {celebrate015} {celebrate015}

ναι ρε συ και κληρωση....................και εκει να δεις. Λαχειο οποιος με κερδισει.........................
Αφου μπορει αυτος, μπορω κι εγω...........................

Ιωσήφ Τορρένς

  • Hero Member
  • *****
  • Μηνύματα: 3.220
  • Αριθμός κατασκευών: Λίγα πράματα
  • Περιοχή: Αθήνα Κυψέλη
Απ: Προτζεκτάκι ...
« Απάντηση #16 στις: Σεπτεμβρίου 03, 2017, 01:24:37 μμ »
Διαμόρφωση θηλυκού μόρσου

( Για τους νεοεισερχόμενους φίλους ο σωστός τρόπος εδώ  http://www.luthier.gr/index.php?topic=3107.45 )

Βασανάκι το θηλυκό......... μόρσο ! ...  και θέλει κι άλλη δουλίτσα για να "υποδεχθεί" ίσια και σωστά το αρσενικό !







 [ Invalid Attachment ]


Τίποτα δεν ισιώνει από μόνο του ... θέλει πολλή δουλειά ...
Να είστε όλοι καλά ! ... για να ισιώνετε τα "στραβά " ...

Ιωσήφ Τορρένς

  • Hero Member
  • *****
  • Μηνύματα: 3.220
  • Αριθμός κατασκευών: Λίγα πράματα
  • Περιοχή: Αθήνα Κυψέλη
Απ: Προτζεκτάκι ...
« Απάντηση #17 στις: Σεπτεμβρίου 04, 2017, 06:36:46 πμ »
Καλημέρα !

Μερικές διαστάσεις , επιθυμητή κλιμακα οργάνου = 38 εκ.

Ο εξωτ. τάκος δομικά καλοστέκεται και κρατάει, αλλά οπτικά ενοχλεί ...

Αραγε μπορώ να τον "κρύψω" ( ολικά ή μερικά ) κάτω από την ταστιέρα ; ή ότι άλλο μπορεί να δείξει κάπως καλύτερα ; 

Ενα καμάρι ; ή δυο ; σε ποιές θέσεις ;

Ευπρόσδεκτη κάθε πιθανή παρατήρηση

 [ Invalid Attachment ]
Τίποτα δεν ισιώνει από μόνο του ... θέλει πολλή δουλειά ...
Να είστε όλοι καλά ! ... για να ισιώνετε τα "στραβά " ...

Silvestro

  • Moderator
  • Hero Member
  • *****
  • Μηνύματα: 7.527
  • Αριθμός κατασκευών: #99
  • Περιοχή: Ελληνικό
Απ: Προτζεκτάκι ...
« Απάντηση #18 στις: Σεπτεμβρίου 04, 2017, 07:28:03 πμ »
Ευπρόσδεκτη κάθε πιθανή παρατήρηση
3.33+3.33+3.33=9.99...  {celebrate015} σου εχει ξεφυγει ενα δεκατο του χιλιοστου...  {celebrate015} {celebrate015}
ρε πλακα πλακα, εισαι σουπερ σκιτσαδορος...

εγω θα εβαζα ενα καμαρι, να παταει κατω απο τον καβαλαρη η μια ακρη του, και μπροστα... παντως οχι ενα, και ακριβως στην μεση. αλλα βεβαια αυτα θα στα πουνε οι ειδημονες...
τιποτε καλυτερο απο μια κιθαρα.
εκτος ισως απο δυο...

Γιώργος Κατσίγιαννης

  • Hero Member
  • *****
  • Μηνύματα: 932
  • Αριθμός κατασκευών: 30 και συνεχιζουμε....
Απ: Προτζεκτάκι ...
« Απάντηση #19 στις: Σεπτεμβρίου 04, 2017, 08:22:33 πμ »
Καλημέρα Ιωσήφ.
Κάτω απο τον καβαλάρη εγώ δεν βαζω καμαρι.....λόγω ηχου,(σορρυ Στελαρα...).
Επειδη τωρα δεν εχω χρονο,θα βγαλω τις αρμονικες συμφωνα με την κλιμακα σου,38cm,και θα σου πω την γνωμη μου που θα μει καμαρι.
Ευχαριστω και καλη συνεχεια ευχομαι στην κατασκευη σου .

Μάνος Τουρπάλης

  • Hero Member
  • *****
  • Μηνύματα: 3.287
  • Αριθμός κατασκευών: -
Απ: Προτζεκτάκι ...
« Απάντηση #20 στις: Σεπτεμβρίου 04, 2017, 09:29:35 πμ »
Παράθεση από: steliosguitar
εγω θα εβαζα ενα καμαρι... παντως οχι ενα, και ακριβως στην μεση

αυτό το έχασα...

... κι εγώ δεν θα έβαζα καμάρι κάτω ακριβώς από τον καβαλάρη σε τόσο μικρό καπάκι. Σε κιθάρα (λαϊκή) το έχω δει και έχουμε συζητήσει το καμάρωμα bouchet, αλλά σε δυο μπουζούκια που είδα ήταν αποτυχία. Μάλλον θα τραβούσα την τρύπα λίγο προς τα πάνω για να βάλω το καμάρι ενδιάμεσα, 10-12 μμ από τον καβαλάρη.

Ιωσήφ πόσο περισσεύει ο τάκος εκατέρωθεν της ταστιέρας?

Ιωσήφ Τορρένς

  • Hero Member
  • *****
  • Μηνύματα: 3.220
  • Αριθμός κατασκευών: Λίγα πράματα
  • Περιοχή: Αθήνα Κυψέλη
Απ: Προτζεκτάκι ...
« Απάντηση #21 στις: Σεπτεμβρίου 04, 2017, 11:18:22 πμ »
καλημερα Μανο

Ο τακος εκατερωθεν της ταστιερας περισσευει ενα εκατοστο. Θα δωσω συντομα περισσοτερα στοιχεια.

Π
Τίποτα δεν ισιώνει από μόνο του ... θέλει πολλή δουλειά ...
Να είστε όλοι καλά ! ... για να ισιώνετε τα "στραβά " ...

Silvestro

  • Moderator
  • Hero Member
  • *****
  • Μηνύματα: 7.527
  • Αριθμός κατασκευών: #99
  • Περιοχή: Ελληνικό
Απ: Προτζεκτάκι ...
« Απάντηση #22 στις: Σεπτεμβρίου 04, 2017, 11:31:02 πμ »
εννοω αν εβαζα ενα θα το εβαζα εκει, στον καβαλαρη, και οχι στην μεση (αμεσως μετα την τρυπα)..ο μπουσε δηλαδη δεν δουλευει στα μπουζουκια;  ::)
τιποτε καλυτερο απο μια κιθαρα.
εκτος ισως απο δυο...

Μάνος Τουρπάλης

  • Hero Member
  • *****
  • Μηνύματα: 3.287
  • Αριθμός κατασκευών: -
Απ: Προτζεκτάκι ...
« Απάντηση #23 στις: Σεπτεμβρίου 04, 2017, 11:39:27 πμ »
..ο μπουσε δηλαδη δεν δουλευει στα μπουζουκια;  ::)

τι να σου πω, δεν ξέρω... αυτό που ξέρω είναι ότι δύο μπουζούκια που έχω δει / παίξει με το καμάρι είτε πολύ κοντά (το ένα)  είτε ακριβώς επάνω (το δεύτερο ) στον καβαλάρη, δεν είχαν "φωνή"

ΖΑΡΚΑΔΑΣ ΚΩΣΤΑΣ

  • Hero Member
  • *****
  • Μηνύματα: 6.139
Απ: Προτζεκτάκι ...
« Απάντηση #24 στις: Σεπτεμβρίου 04, 2017, 04:47:24 μμ »
καμαρι κατω απο τον καβαλαρη? Σα να βαζεις περισπωμενη στο ομικρον
Αφου μπορει αυτος, μπορω κι εγω...........................

moytro

  • Full Member
  • ***
  • Μηνύματα: 196
  • Αγαπημένο ξύλο: rosewood
  • Αριθμός κατασκευών: 7
Απ: Προτζεκτάκι ...
« Απάντηση #25 στις: Σεπτεμβρίου 04, 2017, 04:48:22 μμ »
Μια πρόταση με ένα καμάρι,οβάλ τρύπα και κλίμακα ίσως 36cm είναι η εξής

Ιωσήφ Τορρένς

  • Hero Member
  • *****
  • Μηνύματα: 3.220
  • Αριθμός κατασκευών: Λίγα πράματα
  • Περιοχή: Αθήνα Κυψέλη
Απ: Προτζεκτάκι ...
« Απάντηση #26 στις: Σεπτεμβρίου 04, 2017, 06:46:54 μμ »
Ευχαριστώ όλους τους φίλους για τις προσεγγίσεις

Τίποτα δεν είναι οριστικό και δεδομένο . Πώς να είναι άλλωστε αφού πρόκειται για μια (ακόμη) πειραματική κατασκευούλα .
Θεωρώ λοιπόν, ότι οι όποιες κατασκευαστικές "εκτροπές" - "ανατροπές" συγχωρούνται ,
για να μην πω ότι νομιμοποιούνται κιόλας

Θα το ξανασχεδιάσω και ελπίζω να το ξαναδούμε

Αν όμως δεν καταφέρω να φτιάξω κάτι που να μου αρέσει θα επιχειρήσω να αντιγράψω τις δυο τρυπουλες
που έβαλε ο Παν. Καφετζόπουλος στο δικό του μπαγλαμά !

 [ Invalid Attachment ]

...

...  ωραία όλα αυτά ... κάτι όμως πρέπει να βρω , να συμμαζέψω τον τάκο .
     Κάτι που να τον "κρύβει" χωρίς βέβαια να τον καταργεί
Τίποτα δεν ισιώνει από μόνο του ... θέλει πολλή δουλειά ...
Να είστε όλοι καλά ! ... για να ισιώνετε τα "στραβά " ...

Ιωσήφ Τορρένς

  • Hero Member
  • *****
  • Μηνύματα: 3.220
  • Αριθμός κατασκευών: Λίγα πράματα
  • Περιοχή: Αθήνα Κυψέλη
Απ: Προτζεκτάκι ...
« Απάντηση #27 στις: Σεπτεμβρίου 06, 2017, 10:42:05 πμ »

Καλημέρα κύριοι !

Εγινε μια πρώτη σχεδιαστική διόρθωση , ελεύθερη στην κρίση σας  ...

( αν καταφέρω να το δείξω    {music024} ...  )



 [ Invalid Attachment ]
Τίποτα δεν ισιώνει από μόνο του ... θέλει πολλή δουλειά ...
Να είστε όλοι καλά ! ... για να ισιώνετε τα "στραβά " ...

Μάνος Τουρπάλης

  • Hero Member
  • *****
  • Μηνύματα: 3.287
  • Αριθμός κατασκευών: -
Απ: Προτζεκτάκι ...
« Απάντηση #28 στις: Σεπτεμβρίου 06, 2017, 11:14:36 πμ »
καλημέρα Ιωσήφ.
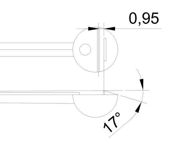
Αν τα 13 χιλ. είναι καθαρά από τον καβαλάρη νομίζω θα είναι οκ.
Αν μετράς αξονικά, θα σου βγουν περίπου 9 χιλ., θέλει λίγο περισσότερο κατά τη γνώμη μου.

 [ Invalid Attachment ]

σε παίρνει να πας την τρύπα ακόμα πιο μπροστά σ' αυτήν την περίπτωση.
Η γωνία νομίζω σου βγαίνει λίγο μεγάλη με 3 εκ. από τον χορδοκράτη και δεν ξέρω αν σε βολέψει στο παίξιμο (εγώ θέλω μεγαλύτερη απόσταση για να βολευτώ).
Μπορείς να βάλεις κοκκαλάκι κάτω από τις χορδές όπως έδειξε ο sakkalis σε άλλο θέμα ή / και να προσθέσεις ακόμα έναν τάκο εξωτερικά πίσω για να απομακρυνθεί ο χορδοκράτης και ταυτόχρονα να αλλάξει η γωνία.

Ιωσήφ Τορρένς

  • Hero Member
  • *****
  • Μηνύματα: 3.220
  • Αριθμός κατασκευών: Λίγα πράματα
  • Περιοχή: Αθήνα Κυψέλη
Απ: Προτζεκτάκι ...
« Απάντηση #29 στις: Σεπτεμβρίου 06, 2017, 12:29:19 μμ »
Μάνο σ ευχαριστώ πολύ !

... και μια σκέψη - εικόνα για το οργανάκι συνολικά ...  ( αν μου κάνει τη χάρη να τη δούμε ... )

 [ Invalid Attachment ]


1. Θα μετρήσω τα 13 χιλιοστά καθαρά από τον καβαλάρη

2. Για τον χορδοκράτη πίσω , ήμουν ήδη υποψιασμένος και θα προσθέσω έναν τάκο εξωτερικά ,
    έτσι λίγο όσο μπορέσω σουλουπωμένο ... όχι πατσαβουροκατάσταση
Τίποτα δεν ισιώνει από μόνο του ... θέλει πολλή δουλειά ...
Να είστε όλοι καλά ! ... για να ισιώνετε τα "στραβά " ...